Raising the standards in women’s health products

I led R&D and sustainability work at Daye - designing next-generation tampons and the clean-room-ready manufacturing systems needed to produce them at scale.

Key outcomes

Advanced clean-room coating equipment
— developed new tooling and manufacturing equipment to coat tampons, suitable for clean-room environments.

Developed new applicator mechanisms
— designed and iterated novel applicator concepts to improve user experience, reliability, and manufacturability.

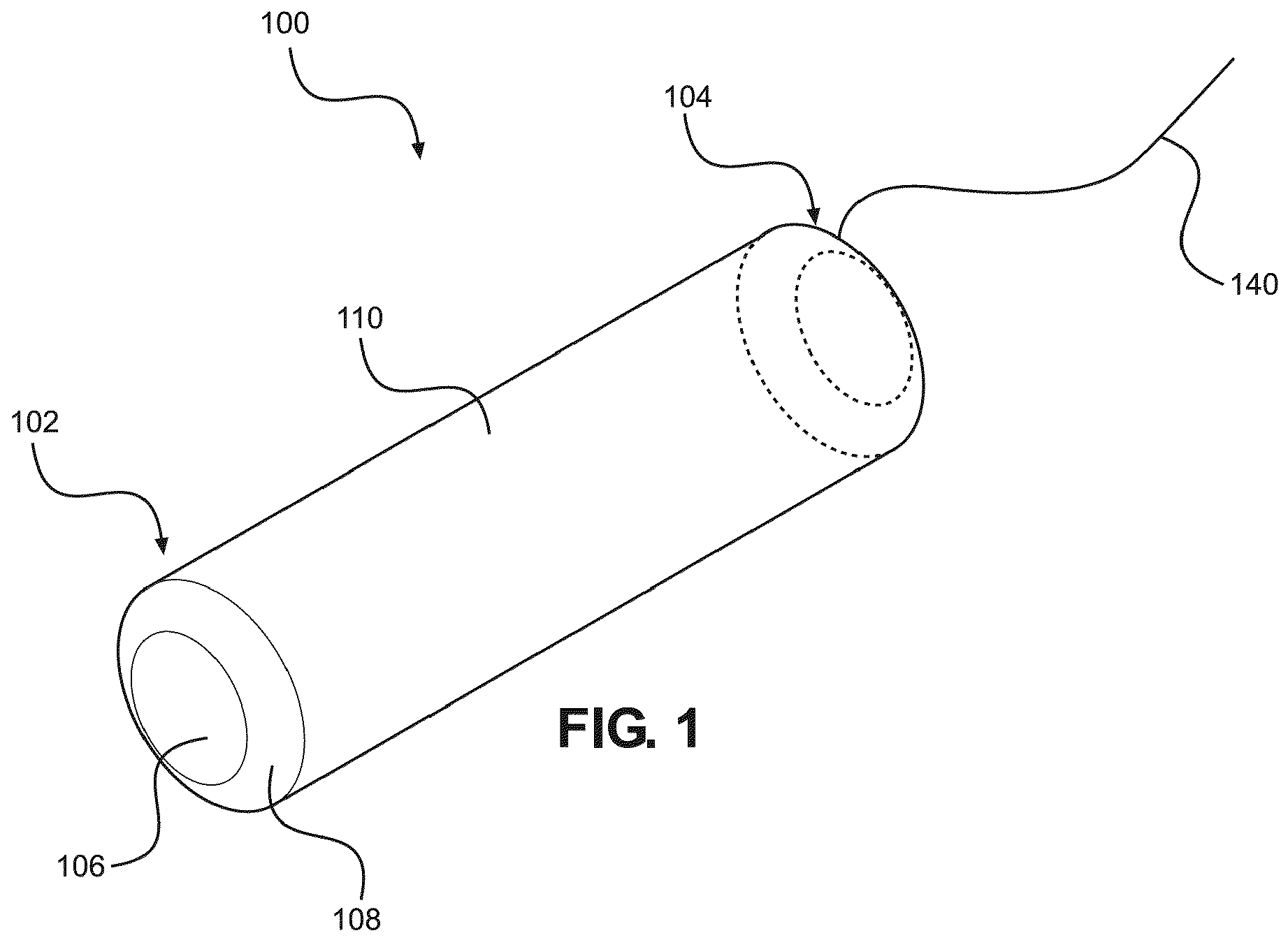
Secured patent
— co-inventor on a patented novel tampon design.

Contributions

Led cross-functional delivery
— worked across R&D, manufacturing, suppliers, and operations to translate designs into production-ready processes and tooling.

Designed the core
— applicator designs, prototypes from early exploration through engineering specs.

Owned sustainability implementation
— embedded sustainability considerations into materials and processes to reduce footprint and future-proof production.

Diagram of a novel tampon design patent with labeled components: a first end (106), a second end (104), a sidewall (110), and an opening or window (140).
Diagram of a novel tampon design patent showing assembly process with labels and arrows indicating flow directions and components.

Co-inventor on patent for novel tampon design and manufacturing process, ensuring fully encapsulated absorbent materials.

EP4026526A1

Three women holding and showcasing products related to vaginal health: one with a packet labeled 'Daye Probiotic,' another with a box containing probiotic and a tub, and the third with a cylindrical container filled with packaged probiotic products.

Daye exists to raise the standards in gynae health by creating innovative products and services that fit conveniently into our lives.

Daye